车域星航

您现在的位置是: 主页 > 试驾先锋

试驾先锋

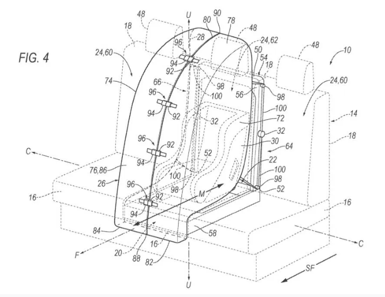
福特新专利:将汽车座椅完全包裹的安全气囊 以保护后座儿童安全

发布时间:2024-10-22 16:02 试驾先锋 作者:车域星航
福特新专利:将汽车座椅完全包裹的安全气囊 以保护后座儿童安全盖世汽车讯 据外媒报道,最近,福特(Ford)向美国专利商标局(the United States Patent and Trademark...

车域星航讯 据外媒报道,最近,福特(Ford)向美国专利商标局(the United States Patent and Trademark Office,USPTO)提交了两份专利申请,都跟汽车座椅安全有关,其中包括座椅与安全气囊更好地集成。福特最近提交的这份专利申请描述了一种安全气囊,专为保护汽车座椅上的儿童而设计。仅靠(调整)座椅位置并不一定能够保证安全,即使小型货车等家用型车辆也并不一定总能提供如预期水平一样的后座保护。

福特专利图(图片来源:thecarconnection.com)

广告位