车域星航

您现在的位置是: 主页 > 试驾先锋

试驾先锋

特斯拉专利:自动消毒系统 或用于特斯拉自动驾驶出租车服务

发布时间:2024-10-20 10:20 试驾先锋 作者:车域星航
特斯拉专利:自动消毒系统 或用于特斯拉自动驾驶出租车服务盖世汽车讯 据外媒报道,特斯拉希望依赖其新申请的专利,变革整个网约车行业。该项专利涉及一款先进的自...

车域星航讯 据外媒报道,特斯拉希望依赖其新申请的专利,变革整个网约车行业。该项专利涉及一款先进的自动消毒系统,将为特斯拉即将推出的自动驾驶出租车车队(预计由特斯拉Cybercab车型组成)的潜在功能提供有趣的洞察。

特斯拉汽车(图片来源:techtimes.com)

该款专利WO2023/163943A1介绍了一种自动消毒系统和方法,用于多人共享的内部封闭空间(特别是汽车内部)。该专利的核心在于探测封闭空间的当前环境条件,基于该条件生成消毒流程,并执行流程,旨在充分利用车内的各种部件。

该系统的主要功能包括:1、通过各种传感器探测环境:探测温度、湿度、是否有病原体等;2、定制化消毒流程:基于探测到的环境条件生成合适的消毒流程;3、各种消毒方式:利用HVAC(暖通空调)系统、紫外线灯、蒸汽发生器等;4、自动化流程:当无人在场时,自动执行消毒流程;5、自适应系统:根据外部天气、车辆使用历史等因素调整消毒方法。

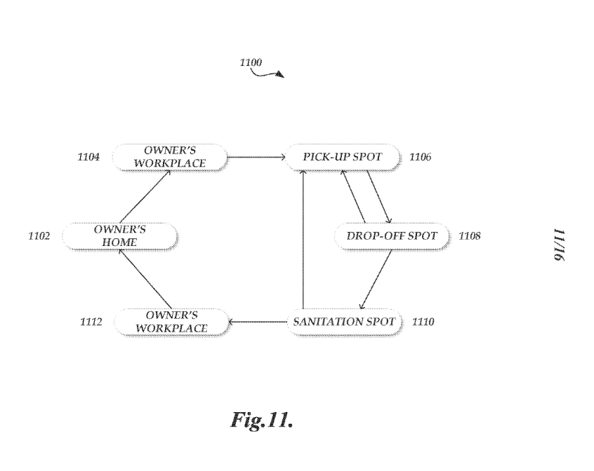
该专利还披露了一种利用该系统(如图11所示)的车辆共享循环:1、车主使用;2、在停车之后探测环境并清洗;3、其他乘员使用;4、在乘员下车之后重新清洗;5、如果有必要,转移到更清洁的场所进行更彻底的消毒。

预计上述功能将在特斯拉即将推出的自动驾驶出租车服务中发挥关键作用。

特斯拉专利图11(图片来源:美国专利商标局)

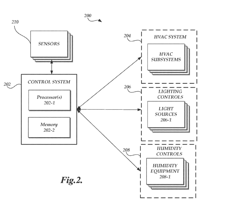
本专利通过各种图片说明了该消毒系统的具体操作:图2显示了用于封闭空间消毒的消毒系统200的配置。该系统由各种传感器210、控制系统202、HVAC系统204、照明控制206和湿度控制208等部件构成。此类部件一起工作,以执行有效的消毒流程。

特斯拉专利图2(图片来源:美国专利商标局)

图4A-4C展示了使用HVAC系统对车内各种表面进行消毒的方法。例如,向方向盘(401)、门窗(403)和中央显示器(405)的顶部吹暖风,以进行消毒的方法。

广告位